Цифровой и ламповый вольтметр автомобильный в прикуриватель своими руками: схема подключения в авто

Вольтметр автомобильный представляет собой устройство, предназначенное для измерения уровня напряжения в электрической сети автомобиля. Благодаря вольтметру автовладелец может узнать о возможных перепадах напряжения в электросети, что позволит своевременно определить поломку и устранить ее. О том, как соорудить такой девайс самостоятельно, мы расскажем ниже.
Особенности девайса

Как сделать электронный светодиодный вольтметр-термометр на микроконтроллере в машину из калькулятора своими руками? Как осуществляется подключение вольметра с амперметром в автомобиле в прикуриватель? Сначала рассмотрим основные особенности автомобильных вольтметров.
Описание
Основное назначение устройства заключается в замере параметра напряжения в автомобильной сети. Аналоговые и ламповые девайсы оборудуются шкалой со стрелочным указателем, но в машину лучше поставить цифровой гаджет. В таких приборах все параметры выводятся на дисплей. Стрелочные девайсы постепенно отходят на второй план, сегодня они являются морально устаревшими (видео опубликовано каналом Китай в SHOPe).
Разновидности
Вольтметры могут быть или стандартными, или комбинированными:
- Ключевой особенностью стандартных вольтметров являются довольно небольшие габариты, это дает возможность поставить девайс абсолютно в любом месте салона в авто. На практике такие устройства чаще всего подключаются к прикуривателю. При таком подключении вольтметр сможет фиксировать напряжения в сети как при заведенном, так и на заглушенном силовом агрегате. В первом случае рабочий параметр должен составить 13.5-14.5 вольт, во втором — около 12.5 В.
- Комбинированные устройства. Такие девайсы могут быть также оборудованы тахометрами, амперметрами и даже термометрами. Комбинированные вольтметры считаются более функциональными устройствами, поэтому они более востребованы на рынке.
Как соорудить самодельный вольтметр для машины?
Как своими руками соорудить девайс на светодиодах? Подробное руководство по разработке и подключению этого устройства представлено ниже, для начала рекомендуем узнать описание схемы.
Схема

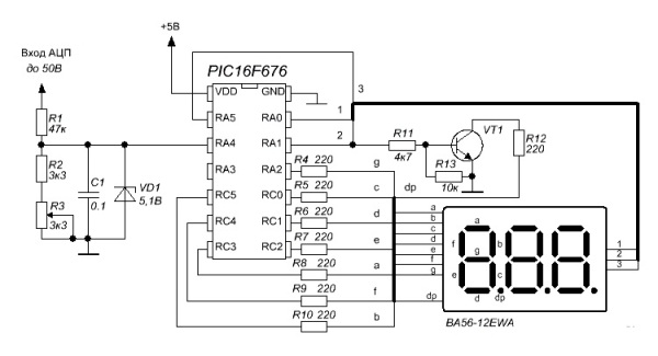
Для изготовления девайса в соответствии со схемой вы должны как минимум обладать навыками и опытом в сооружении подобных устройств. В противном случае добиться желаемого результата будет непросто. Как вариант, всегда можно приобрести готовый вольтметр в магазине с электроникой для машин. Вы можете ознакомиться с примером разработки девайса на pic16f676 со схемой, в которой предел измерения составляет 50 вольт, этого параметра будет достаточно.
На двух резисторных элементах с маркировкой R1 и R2 устанавливается делитель напряжения, а предназначение резистора R3 заключается в калибровке устройства. Конденсаторный элемент С1 применяется для того, чтобы защитить устройство от импульсных помех, с помощью этого конденсатора также сглаживается входной сигнал. В схеме на pic имеется также устройство VD1, представляющее собой стабилитрон, который используется для того, чтобы ограничить параметр входного напряжения, в частности, речь идет о входе контроллера. Этот элемент очень важен, поскольку без него вход МК может попросту перегореть при скачках напряжения в бортовой сети.
Инвертирующее устройство вольтмера собирается на резисторных элементах R11, R12 и R13, также для нормальной работы инвертора потребуется транзистор VT1. Инвертор используется для зажигания точки на индикаторе устройства. К выходу МК нужно подсоединить индикатор с анодом, при этом желательно, чтобы последний имел низкое потребление тока (автор видео — канал By гараж #229).
Особенности подключения
Прежде чем заняться подключением устройства на контроллере к бортовой сети автомобиля, нужно понять, где будет располагаться место монтажа девайса в салоне. Выберите любое удобное место, чтобы при необходимости вы всегда могли взглянуть на дисплей вольтметра и определить напряжение в сети.
Ниже рассмотрим пример монтажа в торпеду автомобиля ВАЗ 2113 с подсоединением, сам процесс монтажа выглядит следующим образом:
- Итак, сначала вам нужно снять пластмассовую накладку, установленную с правой стороны от контрольного щитка, в частности, она находится над автомагнитолой. Накладка фиксируется при помощи пластмассовых креплений, так что при снятии следует быть максимально аккуратным. Если вы повредите крепления, то придется ставить новые.
- Затем, с помощью электрического лобзика нужно будет проделать отверстие на заглушке. Размеры отверстия должны соответствовать габаритам дисплея прибора. Будьте осторожны, поскольку надо, чтобы девайс оптимально подошел под сделанное отверстие.
- Монтаж прибора производится на задней стороне пластмассовой накладки, сначала устройство необходимо закрепить в посадочном месте, используя канцелярские резинки. Так надо сделать только вначале, поскольку разумеется, все время так ездить вы не сможете. Когда вольтметр будет зафиксирован, на тыльной стороне все образовавшееся пространство нужно будет залить при помощи сантехнического герметика. Вам надо добиться того, чтобы плата была надежно зафиксирована в месте посадки. После того, как герметик высохнет и вольтметр будет держаться, резинки можно убрать.
- Для подключения девайса к электрической сети транспортного средства можно воспользоваться выходом от компьютерного блока питания. Подойдет этот разъем или нет, зависит от вашего девайса, поэтому если штекер не подходит, то придется паять устройство. После того, как подключение будет завершено, пластиковую заглушку на место. Вокруг экрана устройства можно поставить рамку, с помощью которой улучшится вид дисплея.
Вам необходимо добиться, чтобы вольтметр не отвлекал вас при движении, так что если яркость дисплея слишком высокая, ее нужно будет снизить. Как вариант, можно затемнить дисплей обычным женским лаком или установить на экран кусок тонировочной пленки. - Питание вольметра можно взять от аккумуляторной батареи или замка зажигания. В случае с АКБ он будет работать всегда, а во втором — только после включения зажигания. Следует отметить, что второй вариант является более оптимальным, поскольку вы сможете следить за показателями напряжения, при этом не разряжая аккумулятор.
Фотогалерея «Установка девайса в центральную консоль»


Заключение
Выполнить задачу по разработке и самостоятельному подключению автомобильного вольтметра к электросети сможет далеко не каждый потребитель. Процедура разработки и подключения требует серьезных навыков в области электротехники, поэтому многие автовладельцы просто покупают готовые вольтметры. В таком случае вам надо будет просто подсоединить девайс к электросети.
Видео «Как подключить вольтметр в авто»
Как правильно выполнить эту задачу и какие нюансы при этом следует учесть — подробная инструкция с описанием рабочих моментов представлена ниже (ролик снят каналом Tver Garage).
