12 Ошибка Тойота Карина 7а fe Двигатель © Первым делом
Проверка объединённого узла зажигания
Цель работы: изучить, методику объединённого узла зажигания.
Оборудование: вольтметр (мультиметр), осциллограф, набор щупов, автомобиль TOYOTA COROLLA (или объединённый узел зажигания от двигателя 4A-FE, 5A-FE).
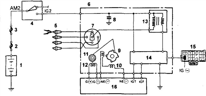
Объединённый узел зажигания (рис. 15.11.1) состоит из:
1) Коммутатора 14, который прерывает первичный ток, поступающий от БЭУ 16 (сигнал IGT), и создающий искру на электродах свеч зажигания 5. Для надёжности системы, в момент искрообразования, коммутатор 14 посылает импульс в БЭУ 16 (сигнал IGF), информирующий об образовании искры.
2) Катушки зажигания 13, состоящей из замкнутого сердечника, первичной и вторичной обмоток. За счёт прерывания тока коммутатором 14 в первичной обмотке, катушка зажигания 13 создаёт высокое напряжение на вторичной обмотке, способное вызвать искрообразование на электродах свеч зажигания 5.
3) Распределителя зажигания 7, обеспечивающего распределение высокого напряжения по свечам зажигания 5 каждого цилиндра в соответствии и порядком работы двигателя.
4) Индуктивной катушки 10 «NE», определяющей угловое положение коленчатого вала;
5) Индуктивной катушки 12 «G», определяющей угловое положение распределительного вала.
Катушки «NE» и «G» необходимы для правильного определения момента зажигания.

Рисунок 15.11.1 Схема объединённого узла зажигания
Для проверки катушки необходимо снять с объединённого узла зажигания крышку распределителя и ротор распределителя искровых разрядов.
Используя мультиметр, проверить сопротивление первичной обмотки катушки зажигания (рис. 15.11.2).
Рисунок 15.11.2 Проверка сопротивления первичной обмотки катушки зажигания
Сопротивление первичной обмотки катушки зажигания должно лежать в пределах:
для «холодной» обмотки от 1,11 Ом до 1,75 Ом;
для «горячей» обмотки от 1,41 Ом до 2,05 Ом.
Понятие «холодная» обмотка подразумевает под собой температуру обмотки клапана от -10 до + 50 °С; «горячая» обмотка – от +50 до +100°С.
Используя мультиметр, проверить сопротивление вторичной обмотки катушки зажигания (рис. 15.11.3).
Рисунок 15.11.1 Проверка сопротивления вторичной обмотки катушки зажигания
Сопротивление вторичной обмотки катушки зажигания должно лежать в пределах:
для «холодной» обмотки от 9,0 Ом до 15,7 Ом;
для «горячей» обмотки от 11,4 Ом до 18,4 Ом.
Понятие «холодная» обмотка подразумевает под собой температуру обмотки клапана от -10 до + 50 °С; «горячая» обмотка – от +50 до +100°С.
Самодиагностика Тойота Королла: коды ошибок
Код ошибки 21 двигателя Тойота — что делать? Так же имейте в виду, что в некоторых моделях дизельных машин для самодиагностики используется лампочка контроля накала свечей с изображением спирали.
Ошибка 12 Тойота Карина е 4а фе Трамблерная
Блок электронного управления двигателем двигателей Toyota 4A-FE, 5A-FE, 4A-GE, 7A-FE автомобилей Тойота Королла, Корона, Тойота Карина Е, Кариб, Тойота Селика, Спринтер, Калдина запрограммирован таким образом, чтобы обеспечить оптимальный угол опережения зажигания на различных режимах работы двигателя.
Используя информацию об условиях работы двигателя (частота вращения, температура охлаждающей жидкости и т. д.), микрокомпьютер выдает команду на подачу искрового разряда точно в необходимый момент рабочего цикла двигателя.

Рис.38. Схема размещения элементов системы зажигания на автомобиле с двигателем 4A-FE (АТ190)
1 — главная плавкая вставка 2.0L, 2 — свечи зажигания, 3 — электронный блок управления (для моделей с левым расположением рулевого управления), 4 — объединенный узел зажигания, 5 — диагностический разъем, 6 — электронный блок управления (для моделей с правым расположением рулевого управления), 7 — плавкая вставка АМ2 (30 А).
Блок электронного управления двигателем двигателей Toyota 4A-FE, 5A-FE, 4A-GE, 7A-FE автомобилей Тойота Королла, Корона, Тойота Карина Е, Кариб, Тойота Селика, Спринтер, Калдина осуществляет текущий контроль за условиями его работы, используя сигналы соответствующих датчиков.
По этим сигналам блок электронного управления вычисляет необходимый угол опережения зажигания и посылает управляющий сигнал на коммутатор. Высокое напряжение распределяется по свечам зажигания в соответствии с порядком работы двигателя и вызывает искровой разряд между электродами свечи зажигания, который поджигает топливо-воздушную смесь.
Коммутатор периодически прерывает первичный ток, идущий от электронного блока управления двигателем (сигнал IGT), и тем самым создает искровой разряд на свечах зажигания. Кроме того, с целью повышения надежности работы системы зажигания, в момент искрообразования информация об этом (сигнал IGF) поступает на электронный блок управления двигателем.
Катушка зажигания состоит из замкнутого сердечника, первичной обмотки, которая охватывает сердечник, и вторичной обмотки, которая охватывает первичную обмотку. Такая конструкция позволяет создать высокое напряжение, способное вызвать мощный искровой разряд в зазоре между электродами свечи зажигания.
Примечание: на некоторых двигателях, например, на 4A-GE (вариант без расходомера воздуха) или 4A-FE (вариант с системой сгорания обедненных смесей) на датчиках углового положения распределительного вала используются две индуктивные катушки «G1» и «G2».
Предупреждения для системы зажигания в работе двигателей Toyota 4A-FE, 5A-FE, 4A-GE, 7A-FE:
— Не оставляйте зажигание включенным более, чем на 10 минут, если двигатель не работает.
— При подключении тахометра к системе зажигания подсоедините рабочий провод тахометра к клемме IG (-) диагностического разъема комплексного электронного блока зажигания, а провода питания — к аккумуляторной батарее.
Проверка объединённого узла зажигания.
Система зажигания двигателей Toyota 4A-FE, 5A-FE, 4A-GE, 7A-FE Рисунок 15.11.6 Форма сигнала исправных датчиков углового положения коленчатого вала «NE» и углового положения распределительного вала «G»
Симптомы «болезни код 21» у двигателя Тойота
Все отклонения в работе автомобиля в следствие выхода из строя кислородного датчика условно можно разделить на два вида:
- В результате повышенного содержания топлива /нехватки воздуха (богатая смесь).
- В результате повышенного содержания воздуха /нехватки топлива (бедная смесь).
Самым первым и явным признаком ошибки 21 является увеличенный расход топлива. Так как в результате поломки датчика кислорода электронный блок берет усредненные показатели смеси воздуха и топлива.
Помимо повышенного расхода топлива может наблюдаться еще множество отклонений, например таких как:
- уменьшение динамических возможностей,
- посторонние звуки в коробке передач,
- появление черного дыма,
- снижение «чувствительности» авто.
И это далеко не полный список неприятностей, вызванных неполадкой.

| НЕИСПРАВНОСТИ | ПРИЧИНЫ И СПОСОБЫ УСТРАНЕНИЯ |
| Плавают обороты, мощность двигателя 3S FE существенно снижается. | Причиной подобного может быть вышедший из строя клапан EGR. Это характерная проблема для данного мотора, которая вызвана использованием некачественного бензина. Устранить такую поломку можно путем прочистки клапана от загрязнения. При его механических поломках проводят замену детали. |
| Двигатель 3S не держит холостые обороты и глохнет. | С большой долей вероятности проблема кроется в загрязнившейся дроссельной заслонке или же закоксовавшемся впускном коллекторе. Необходимо вскрыть мотор и прочистить заслонку и коллектор. В отдельных случаях требуется проводить замену воздушного фильтра или устранять проблемы с бензонасосом. |
| Повышенный расход топлива. | Подобная проблема может быть вызвана неправильной работой клапана холостого хода, загрязнившимися форсунками и неправильно отрегулированным зажиганием. Ремонт не представляет сложности и заключается в регулировке зажигания и чистке форсунок. |
| Появление прогрессирующих вибраций, которые со временем становятся только сильнее. | Такая вибрация может появляться по причине неработающего цилиндра или же проблемах с подушкой мотора. Необходимо провести диагностику и определить работают ли все цилиндры. После этого осматривают состояние подушек и при необходимости проводят их замену. |
Причины, расшифровка и сброс ошибки на Toyota Corolla
- Пренебрежение визуальным осмотром электрических проводов и разъема электромагнитного клапана управления маслом
- Пренебрежение проверкой уровня, а также состояния и вязкости моторного масла
- Пренебрежение очисткой кодов ошибок с памяти ECM и проведением тест-драйва автомобиля, чтобы выяснить, появляется ли код P0021 снова, прежде чем приступить к диагностированию ошибки
- Несоблюдение процедуры диагностирования, установленной производителем автомобиля.
Какой трамблер подойдет к двигателю 4a fe Проверка катушки зажигания двигателей Toyota 4A-FE, 5A-FE, 4A-GE, 7A-FE
Коды двузначной системы
Коды неисправностей силовой установки
Расшифровка кодов неисправностей двигателя при типе 09:
Коды ошибок систем ABS и TRC (код 10)
Некоторые автомобили Тойота Королла поддерживают стандарт OBD, предусматривающий обозначение ошибок с помощью 5-значных кодов: одного буквенного символа и четырех цифровых.
Первый символ этого кода называется Альфа-указателем и обозначает систему, в которой возникла неисправность:
Следующие цифры обозначают точное место локализации и классификацию неполадки.
Для диагностики неполадок в автомобилях поддерживающих данный протокол рекомендуют использовать специальные сканеры, тестеры или подключения к ПК с помощью специальных программ.

Ошибка 14 двигателя Toyota, что скрывает код 14 и как ведет себя двигатель
Разновидности двузначных кодов

Общая проверка трамблера
- При возникновении отклонения от нормального режима работы, датчик, фиксирующий его, отключается.
- В ЭБУ включается обходная программа, позволяющая автомобилю продолжать работу. При включении этой программы на табло загорается аварийная или мигает лампочка работы системы, в которой обнаружена поломка.
- При устранении неисправности (самопроизвольном или в результате ремонта) обходная программа отключается, и система продолжает работу в штатном режиме.
- Информация о возникшей неисправности сохраняется в виде специального кода, который впоследствии можно считать.
Первым делом
Блок электронного управления двигателем двигателей Toyota 4A-FE, 5A-FE, 4A-GE, 7A-FE автомобилей Тойота Королла, Корона, Тойота Карина Е, Кариб, Тойота Селика, Спринтер, Калдина запрограммирован таким образом, чтобы обеспечить оптимальный угол опережения зажигания на различных режимах работы двигателя.

Коды неисправностей бензиновых двигателей (Toyota)
Коды неисправностей дизельных двигателей (Toyota)
Коды неисправностей АКПП (Toyota)
Коды самодиагностики считываются по числу вспышек индикатора «O/D OFF» при замкнутых выводах «TE1»-«E1» разъема DLC1 под капотом или «TC»-«CG» разъема DLC3 под приборной панелью и включенном зажигании (при этом должно быть разрешено включение повышающей передачи — «O/D OFF» не горит).
Коды неисправностей ABS (Toyota)
Считывание кодов (модели с разъемом DLC1)
— Включите зажигание.
— Перемкните выводы «ТС» и «E1» разъема DLC1.
— Снимите перемычку с выводов «WA» и «WB» разъема DLC1.
— Через 4 секунды считайте код по количеству вспышек индикатора.
— Снимите перемычку с выводов «TC» и «E1».
— Установите перемычку на выводы «WA» и «WB».
Сброс кодов (модели с разъемом DLC1)
— Включите зажигание.
— Перемкните выводы «ТС» и «E1» разъема DLC1 (автомобиль неподвижен).
— Нажмите на педаль тормоза восемь или более раз в интервале трех секунд.
— Индикатор должен выводить код нормы (мигать 2 раза в секунду).
— Выключите зажигание.
— Снимите перемычку с выводов «TC» и «E1».
— Убедитесь, что индикатор ABS погас.
Считывание кодов (модели с разъемом DLC3)
— Перемкните выводы «ТС» и «CG» разъема DLC3.
— Включите зажигание.
— Через 4 секунды считайте код по количеству вспышек индикатора.
— Снимите перемычку с выводов «TC» и «CG».
Сброс кодов (модели с разъемом DLC3)
— Перемкните выводы «ТС» и «CG» разъема DLC3.
— Включите зажигание.
— Нажмите на педаль тормоза восемь или более раз в интервале трех секунд.
— Индикатор должен выводить код нормы (мигать 2 раза в секунду).
— Снимите перемычку с выводов «TC» и «CG».
Симптомы «болезни код 21» у двигателя Тойота
Re: Трамблер на 4а-фе

Устранение ошибки P0021
- Если чек моргает более 11 раз беспрерывно с интервалом в 0,5 с, то ваша Тойота Королла использует двузначный код, типа 09. Такой вариант означает, что в памяти компьютера нету зафиксированных ошибок и вы можете смело вынимать перемычки, заводить авто и ехать куда планировали.
- Когда же лампа ошибки мерцает с интервалом 4,5 с, то ваше авто пользуется кодами типа 10, но серьезного ремонта транспортное средство не требует.
- Если «сheck-еngine» моргает по-иному, к примеру: мерцание — пауза — мерцание — длинная пауза — мерцание, то код ошибки уже в памяти бортового компьютера и его значение – 21. Или такой пример моргания чека: мерцание — длинная пауза – мерцание – пауза — мерцание – это код ошибки под номером 12.
Трамблер на 4а-фе Для проверки катушки необходимо снять с объединённого узла зажигания крышку распределителя и ротор распределителя искровых разрядов.
